Scratch Big Bad Bertha Original Design / Scratch Built

Scratch - Big Bad Bertha {Scratch}

Contributed by Bob Fortune

Manufacturer: Scratch

 

Big Bad Bertha

Premise:

  • Find out how bad Bertha can actually be.
Fun Facts
  • Just because your jaws are wired shut doesn't mean milkshakes aren't part of the food pyramid.
  • That's not a stool she's sitting on.


Starting point:

  • Estes Big Bertha Rocket kit # 1948


Additional parts needed:

  • LOC 38 mm motor tube, 18"
  • LOC 38 mm coupler
  • .043 G10 (or equal) for fin material
  • epoxy, 5 minute and 1 hour variety
  • milled fiberglass as admixture
  • 2 ounce fiberglass cloth if desired
  • 1/4" launch lugs, 2 each
  • suitable motor retention for minimum diameter rocket
  • 18" nylon parachute or 6" x 60" nylon streamer
  • 96" of 1/8" nylon braided line, parachute suspension line quality or equal
  • Black paint, eggshell or satin finish or equal
  • LOC 29 mm to 38 mm adapter
  • lot's o' tracking chalk
  • a relatively large recovery area
Before
After

Estes Part No. 1948

Building the Bertha

1. First decide how you intend to retain the bridle in the nosecone. My rocket had a length of 1/8" aircraft cable settled into ounce or two of epoxy and bb's with a loop at the aft end. This has to be strong because on more energetic motors the velocities at ejection are going to be fairly high. Make an allowance so that this retention point is accessible when the rocket is finally assembled.

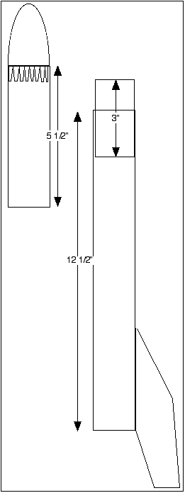
2. Decide where the coupler is going to be placed in the rocket. It's not really critical but it should slightly forward of the longest motor you intend to fly this rocket on. I was going to fly it on an AeroTech 38 mm I motor but decided I didn't want to risk losing this case, I felt I could probably get the rocket back from an H motor flight but not an I. As it is, the aft end of the coupler is 10.5" from the aft end of the rocket. This allows me to use an AeroTech 480 Ns 38 mm case if I feel _really_ lucky. Split the body tube accordingly so that half the coupler is aft of the split and half is forward.

2.a. If you choose to fly this on an H125 29 mm motor (or any long 29 mm motor) the location of the coupler is moot as long as the method of retaining the nosecone and upper airframe will still clear the motor. The 29 to 38 mm adapter should center the motor within the rocket adequately but if you feel uncomfortable, tape an additional 29 mm to 38 mm centering ring on the forward part of the motor just aft of the coupler. Use tape to thicken the motor case OD so the ring fits nicely.

3. Decide how you want to provide aft retention for the bridle. Since this rocket is going to go high and fast, a robust method must be provided. Aircraft cable threaded through the coupler is a good one, a couple of loops of unwaxed braided Kevlar epoxied to the inside of the coupler would work as well. These aft retention points can be smaller as long as two separate distinct points are provided for attachment.

4. Cut the base base of the shoulder from a stock Estes BT-60 Big Bertha style nosecone. Slot the shoulder so it will slide into the LOC 38 mm motor tube. With a Dremel, cut off the base and cut the remaining plastic shoulder into tines or teeth. See image here.

5. Install nosecone retention into nosecone, install epoxy and bb mass and allow to cure. Epoxy nosecone into the upper section of body tube.

6. Using the stock Big Bertha fin as a template, lay out 4 fins on a piece of .043 G10 fiberglass. G10 is available from various sources on the internet (BMS, Vaughn Bros, etc.) or it can be found at Radio Shack or Fry's Electronics as copper clad material for printed circuit board. 1/8" aircraft plywood can be substituted as well but should be glassed completely if Bertha goes supersonic. I used G10 so the directions will be for this material. Use tinsnips or heavy-duty scissors to cut the G10, in this thickness it cuts very cleanly and easily with a pair of compound snips. Stack and sand all the parts so they match.

7. Divide the body tube into quadrants and draw lines for fin installation. Use your Dremel to remove the glassine layer from the LOC tubing prior to bonding. Rough up the root edge of the G10 fins to promote bonding, about 1/4" up the span or so. Tack fins to body tube using thick CA or 5 minute epoxy in only 2 or 3 places and allow to dry. Mix up a sufficient batch of epoxy to fillet all the fins, moisten the fillet area with unmodified epoxy to prevent a resin starved joint. In other words, use your fingertip to smear some epoxy into the paper tube - just enough to slightly wet it out. Add a sufficient amount of milled fiberglass to the epoxy mixture to the batch you mixed to bring it to a peanut butter like consistency. For example, one teaspoon of epoxy might take 1 and 1/4 teaspoons of milled fiberglass. Using a popsicle stick, smooth this mixture into each fillet joint using the rounded tip of the stick to describe a nice radius. Using a gloved finger tip moistened with denatured alcohol smooth this fillet until it is fair, smooth and nicely rounded. Wipe any excess epoxy mixture from the fins or the airframe prior to moving on to the next set of fins. With sufficient milled fiberglass the epoxy mass will stay in one place until cured.

Alternately if you don't want to install fiberglass as reinforcement, strong fillets made from epoxy and milled fiberglass would probably work well. They may not hold up as well as fins fiberglassed to the airframe but it should be adequate. If your Bertha rains fins on launch day the cause will be apparent.

For a bit more complete treatment of these techniques see an ROL article I wrote called "Epoxy Primer"

8. Once all the fillets are completed sand with 80 grit paper and install strips of 2 ounce glass cloth over the fillets - onto the body tube and the fin as well. Cut out all the glass strips prior to glassing. Lay down some 4 mil plastic on your worktop. You also need some kind of squeegee or flexible plastic scraper, a square of tupperware lid would work well. Mix up 1/2 a teaspoon of milled fiberglass to one teaspoon of epoxy and butter onto glass strips. Squeegee epoxy into strips so that the glass is wetted out, sticky but not runny. Using the edge of your squeegee pick up the strip and lay on the fillet. Use a disposable paint (chip) brush and stipple the glass strip onto the fillet making sure that part of the fin is covered as well as part of the motor tube. Stippling means to use the brush tips to lightly tap the glass into the surface. Imagine making a bunch of dots on a piece of paper with a pencil, this is the action of stippling.

9. Install the forward launch lug 7 inches from the aft end of the rocket. The lug should split this mark, half forward of it and half aft. Install the other launch lug someplace within one inch of the aft end of the rocket. Fillet these lugs with epoxy and milled fiberglass.

10. Motor retention is left up to the builder. There are many different systems for minimum diameter airframes: friction fit, tape, the Aeropack retainer, bent music wire, or a big washer with brazed-in-place hooks like I cobbled together.

11. Fill all the voids and imperfections with Elmer's Finishing Wood Filler. Sand smooth. Install 2 coats of primer. Sand smooth. Install 2 coats of satin black enamel. Install decals.

For more info, see a couple of articles also in ROL called "Starting to Finish" and "Finishing Up"

No, the J570 case doesn't fit.
But you can see the cheesy little motor retainer I brazed together to keep the RMS case in the rocket. It's the spidery thing in the foreground. The unit is held in place with safety wire and threads through the fin root.







Pic
Pic

Flying Sleepers

The fun thing about flying this type of Big Bertha or any other highly modified Estes rocket is the sleeper effect.

When people walk by the table I have set up and check out the rockets they say "Big Bertha, cute - you gonna to fly it on a C motor today?" I say "Nah, there's not much wind so I might try in on an H242". Their eyes bug out as they heft the rocket, it feels very stout to the touch. Always good for a laugh.

Walking out to the high power pads is another fun excursion. The people out there setting up their monsters suggest that the low power pads are "over there, close to the LCO table". I say "thanks, but have you seen any 1/4" rods around here?"

When launch time finally comes and the LCO gets to this rocket it always looks so teeny sitting waaaay out there with it's larger brothers. Invariably the LCO makes some humorous comment and the crowd chuckles. Once the button gets pushed it's a whole different story.
heh heh



 

Flying this Bertha (click here or on image to view simulation)

This rocket is safest if sim'd first using a program like RockSim prior to flying. There is a Big Bertha in the RockSim Library that can be used in the process or generate your own. Try it on a 29 mm G64 or G33 Econojet, sim it with the single use H125. With a GLOW of 22 ounces this rocket hits about 7,500 feet on this 22 dollar motor. A lot of bang for the buck, and all you need is the 38 mm to 29 mm adapter. It's about the same with an H154J RMS motor or one of the I RMS motors but you risk losing the case.

I have flown and recovered this rocket on a G econojet and an H 123W RMS motor. Be careful of the black powder charge included in the H reload, don't use all of it as I did. Waaaaaay up there we heard a BANG as the ejection charge went off. The coupler blew out as the charge exploded but the rocket recovered fine, about a mile uprange stuck upright on it's fins in the Black Rock playa.

As I'm writing this up and thinking about flying this silly rocket it makes more and more sense to use the single use H 125 motor. With a 14 second delay and plenty of noseweight the simulation says 7,000 feet which is plenty high for an Estes rocket and breaks most waivers around the country. All else that is required is a LOC 29 mm to 38 mm adapter (or make one yourself) to use this peppy and cheap motor.

Make sure the bridle is well attached and that the streamer or parachute is sized so that a rapid but safe descent is to be had. When filling out the ballast to achieve optimum mass (probably about 6 ounces or so if you fly an I motor) use tracking chalk in a plastic bag which is torn by the bridle on ejection. This will allow you to follow the rocket as it wants to disappear as soon as it leaves the pad.

Good luck getting it back!

#Related Reviews
Related Products

comment Post a Comment