| Manufacturer: | Scratch |
Robert's Tiny Timer
(Contributed- by Robert Galejs)
DISCLAIMER: This timer has not been thoroughly tested and thus, should be considered experimental. Use of this design is entirely at the risk of the user.
Why I did it
It appears the many people have had problems with ejection charge delays ("bonus" delays, need a -5.5 and not -4 or -7, etc.) This made me wonder how hard it would be to make an electronic time delay unit. Since it would be electronic, it wouldn't suffer from the same sort of problems currently found in todays motor's. However, new problems might arise. There was also some lamenting from the 6-C cluster altitude competitors that the existing motor time delays were not long enough to achieve the maximum altitude possible with those models. So I thought I'd make it as skinny as possible to be of use for competitors and easily adjustable for various applications. The commercial timers you can buy today are pretty pricey and some seem rather low-tech, relying on pull-plugs and the like to start the timer. I'd make mine cheap and completely self-contained.
Here's the challenge I undertook. Build an adjustable electronic ejection charge delay timer that will be: BT-5 sized, adjustable over a wide range of times (0.5 to 30 s), inexpensive (<$10), entirely self-contained (no external plugs, wires, etc.) and fire a flashbulb for the ejection charge.
The timer consists of basically four parts: the timer, the timer adjustment, the acceleration sensor and the battery.
Timer
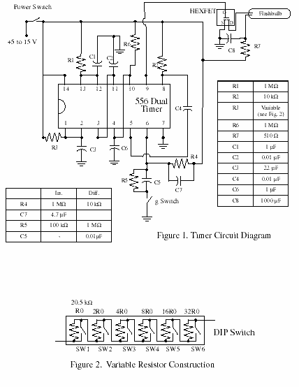
For relatively long time delays (a few to many seconds or even hours if you'd like), the chip of choice is the 555 timer. By adjusting one capacitor and resistor, a wide range of pulse widths are possible. The problem is that a single 555 timer outputs a pulse of a given length immediately following a trigger. I wanted a pulse after a given time delay. So, I needed two 555 timers. The output pulse of the first timer would be the trigger for the second, whose output pulse would fire a flashbulb. These two timers can be found on a single chip, the 556 dual timer, which consists of two independent 555s. Another benefit of the 555 is the relatively high output current of 200 mA. Figure 1 below shows the timer scematic.
There are several technical issues which need to be addressed in using the 555 for long time delays.
The time delay for the 555 is given by 1.1RC, where R and C are the timing resistor and capacitor, respectively. There are maximum practical values for these components. R cannot be much more than a few megaohms due to the minimum charging currents needed by the chip and the maximum C value is typically set by the leakage current internal to the capacitor. Long time delays call for tantalum cpacitors, with low leakage. Although probably not required here, I used them to be safe and also because of their relatively small size.
I also wanted the second timer to be triggered by the trailing edge of the first timer's output pulse and not anytime else. This required a differentiator circuit between the output of the first and the second timers.
The characteristics of the launch sensor will dictate wheteher you want a differentiator or integrator between it and the first timer. If you desire some immunity to premature triggers, an integrator can delay the trigger for a fraction of a second. This will add to your total time delay and requires a good g-switch that will stay closed under acceleration. If you are unsure of your g-switch or if it will stay closed well after launch, a differentiator should be used. In this case a safe/arm switch should be added to prevent setting off the ejection charge when jostling the rocket.
Timer adjustment
In order to get a variety of repeatable time delays, I had to gang together either a group of resistors of capacitors. I chose to go with resistors since they can be found in a wider array of values than the capacitors and they can be found with tighter tolerances as well. I made a variable resistor by soldering the resistors across the terminals of a 6-pin DIP switch, with the switches connected in series. This way, when the switch is off, the corresponding resistor gets its value added to the timing resistor total. When the switch is on, the resistor is shorted out and the resistor does not add to the total. See figure 2 below. With the values shown, this timer will allow delays from 0.5 to 31.5 s in 0.5 s increments.
Launch sensor
I wanted my timer to sense liftoff and set the delays from that point. A g-switch would have been ideal. I found several manufacturers who sell them, but since they are mil-spec parts, they tend to be quite expensive ($10-$20 apiece in small quantities).
I made a few home-made g-switches to save some money. The first was made by epoxying a small ball of lead on top of a modified pushbutton switch. This switch was opened, the spring discarded and replaced by a small sliver of foam. This would close at liftoff. However, I worried about the reliability of such a switch. I also opened a tiny 5V relay and soldered a weight to the movable arm of the relay. This looked to be much more reliable than the first switch but was still a little expensive ($3). I recently found a very low force (<10 gram) tiny switch from an electronics surplus catalog for $0.30, I hope they work well.
A mercury switch could be used as well, but is not exactly what I wanted, as it would sense the rocket decelleration after motor burnout and not the launch. I was hesitant about this since the decelleration is much lower than the launch acceleration. Using the mercury switch may also cause some timing problems with long-burn motors that are severely regressive, since the rocket may acually be decellerating when the motor is still burning. However, the point at which the rocket starts to decellerate can still be found using simulation, and the appropriate time delay chosen. Delay times for most motors with relatively constant thrust would be chosen just like the pyrotechnic delays currently used.
A pull plug or lever switch against the launch rod could also be used, but would violate my self-containment goal. However, this option is quite inexpensive.
Battery
I needed a battery with from 5-15 V that would fit in a BT-5. A little perusal of the battery display at a local store came up with the A23 battery. This is 12 V and has the diameter of a AAA battery and about 2/3 the length. A plastic N-cell battery holder will fit in a BT-5 if the corners are trimmed off. This battery will just barely fire an AG-1 flashbulb by itself, so I added a 1000 uF capacitor discharged through a HEXFET to provide the high peak current to fire the flashbulb.
Timer Schematics
![[Schematic]](images/archive/images3/scratch_tiny_timer1.gif)
Test Results
I have flown the prototype with the relay g-switch several times with good results. I have made up PC boards and have the components (except for the g-switch and battery) to make the timers available in kit form for $15. The PC board version is *MUCH* neater than my prototype.
![[Schematic]](images/archive/images3/scratch_tiny_timer2.gif)
0.01 uF capacitors have a red stripe on the package, the 1 uF caps a blue stripe and 4.7 uF a green stripe.
You should probably solder the right most 1uF capacitor after the 556, or at least with the 556 in place since I didn't leave much room for that part.
The drain side of the IRFD110 has the two pins connected.
Bend up the headers to make room for the connectors, or you can solder two conductor wire directly to the board for remote on/off and flashbulb connections.
For a true BT-5 timer, a radio shack N-cell holder can be trimmed down to fit. This will accommodate an A23 12 V pager battery. There are also skinny NiCd battery stacks that might fit and could be soldered directly to the timer if a charging connection is added. I have a 7.2 V NiCd that fits in a BT-5 but I haven't tested it yet. A 9 V
battery with snap holder will work well if minimum size is not an issue.
BT-5 compatible:
Mercury switch to detect decelleration at motor burnout.
Small detector switch with lead ball on plunger (not tested)
Small relay with weight on lever arm ( used in prototype but needs
major surgery to fit in BT-5 on PC board)
Larger:
Electronics Goldmine mechanical airbag g-switch (not in catalog any more)
Lever switch against launch rod (requires use of differentiator circuit(see below))
Differentiator:
Good for use with unreliable g-switch since any intermittent switch closing will trigger timer. Will make timer prone to false triggers if g-switch is sensitive. This may make ejection charge go off on the pad if rocket is jostled. Required for switch that stays on since a constant on (trigger to ground) will inhibit the second stage of the timer from triggering.
Integrator (included in kit but not tested)
This requires the g-switch to activate for about 0.5 s before timer is initiated. This will guard against false triggers but requires a reliable g-switch. May inhibit second stage from triggering if g-switch is on at end of timing interval. Probably not good for short timing intervals since decay time after g-switch opens is about 5 s.
Turn *off* DIP switches to set time intervals:
#1 - 0.5 s
#2 - 1.0 s
#3 - 2.0 s
#4 - 4.0 s
#5 - 8.0 s
#6 - 16.0 s
So that an 11 second interval would have 2, 3 and 5 off, the rest on.
The 22uF capacitor is a 20% tolerance part so check the long interval to see how close you are to 16 s, the lower
switches should be nearly exact factors of 2 smaller ( the resistors are 1% tolerance).
![]() |
![]() |
![]() |
![]() |
Luiz Braga (August 25, 2012)
Robert expensive in my country this mode is little known but we do our toys too, am developing a rocket circuits and searching, I found this interesting. I ask: is it possible to use pot to stipulate the time delay?
grateful
Luiz Braga